铁改性香蒲生物炭吸附去除水中刚果红的研究
引用本文:赵卿瑞,黄钰焜,张洪培,等.铁改性香蒲生物炭吸附去除水中刚果红的研究[J].化学试剂,2024, 46(3):81-90.
DOI:10.13822/j.cnki.hxsj.2023.0601
背景介绍
印染工业是重要的传统制造业,而亚洲地区是世界上最大的印染生产基地,也是印染废水排放量最大的地区之一。刚果红属水溶性偶氮阴离子染料,其结构中含六个苯环分子,性质稳定、价格低廉,在印染行业广泛应用。目前,水中有机染料去除的主要方法包括:化学法、物理法和生物法等。近年来,生物炭因吸附性能好、成本低廉、原材料易得、比表面积大、孔隙结构丰富等优点。因此,本研究以典型湿地植物废弃物香蒲作为原材料制备生物炭,通过磁改性后,用于水中典型有机染料污染物刚果红的去除,实现湿地废弃植物的资源化利用和固碳,达到以废治废的目的。

文章亮点
1.以湿地废弃植物香蒲为原材,通过热解与水热合成,成功制备磁性铁改性生物碳(Fe-BC),能实现水中典型有机污染物刚果红(CR)染料的吸附去除,且Fe-BC能重复利用,实现了以废治废,变废为宝;
2.通过多因素实验研究,阐明了影响Fe-BC吸附去除CR的因素,分析了吸附动力学和热力学过程,揭示了吸附机理。
内容介绍
1 实验部分
1.1 主要仪器与试剂
1.2 实验方法
1.2.1 BC和Fe-BC的制备
1.2.2 表征/测试方法
1.2.3 CR去除率和吸附容量的计算
通过测量实验前后溶液的吸光度变化,确定吸附前后溶液的浓度C0、Ct,利用式(1)、(2)计算出CR的去除率及吸附材料的吸附容量[16]。

2 结果与讨论
2.1 材料表征
2.2 Fe-BC和BC投加量对CR吸附去除的影响
当CR的初始浓度为100 mg/L,温度为25℃,溶液pH为3时,分析不同Fe-BC和BC用量对CR去除的影响,结果如图 6所示。

2.3 初始浓度对CR吸附去除的影响
当Fe-BC和BC投加量为40 mg,温度为25 ℃,溶液pH为3时,分析不同初始浓度对CR去除的影响,结果如图7所示。

2.4 反应体系吸附时间对CR吸附去除的影响
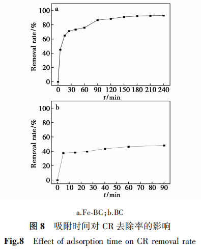
为确定吸附的平衡时间,当CR浓度为100 mg/L,Fe-BC和BC投加量为40 mg,温度为25℃,溶液pH为3时,考察吸附时间对CR去除的影响,结果如图 8所示。

2.5 溶液初始pH值对CR吸附去除的影响
当CR的初始浓度为100 mg/L,Fe-BC和BC投加量为40 mg,温度为25℃时,分析不同溶液初始pH值对CR去除的影响,结果如图9所示。

2.6 反应体系温度对CR吸附去除的影响
2.7 阴离子及阳离子对CR吸附去除的影响
2.8 循环实验
3 拟合吸附模型分析
3.1 吸附动力学分析
为进一步探究BC、Fe-BC对CR的吸附机理,采用拟一级和拟二级动力学方程对实验所得数据拟合分析,拟合结果如表2、表3和图 13、图14所示。




3.2 等温吸附模型分析
根据BC与Fe-BC在15℃ 吸附平衡时的CR浓度与平衡吸附量,选取Langmuir与Freundlich吸附模型进行模拟,拟合结果如图15所示,各项拟合参数如表4所示。


3.3 吸附热力学分析
3.4 颗粒内扩散分析
4 结果与讨论
4.1 以湿地废弃物香蒲为主要原材,通过热解和水热合成,成功制备了磁性Fe-BC吸附材料,能高效去除水中持久性有机污染物CR。
4.2 Fe-BC吸附材料用量、CR初始浓度、初始pH、反应温度等对水中CR的吸附去除效果有一定影响,当CR初始浓度为100 mg/L、Fe-BC投加量为40 mg、溶液pH为3、吸附时间90 min、反应体系温度为25℃时,CR的去除率可达99.6%,且Fe-BC循环使用3次后,性能仍较稳定,对水中CR的吸附去除率仍可达72 %。
4.3 Fe-BC对水中CR的吸附主要以单分子层化学吸附为主,吸附过程符合拟二级动力学模型;颗粒内扩散拟合结果表明,Fe-BC对CR的吸附过程同时会受到其他扩散的限制;Fe-BC对CR的吸附是自发进行的吸热反应,吸附为不可逆过程。
